Smernice za montažo
Smernice za montažo
Prosimo izberite eno ali več poglavij za prenos.
Kazalo

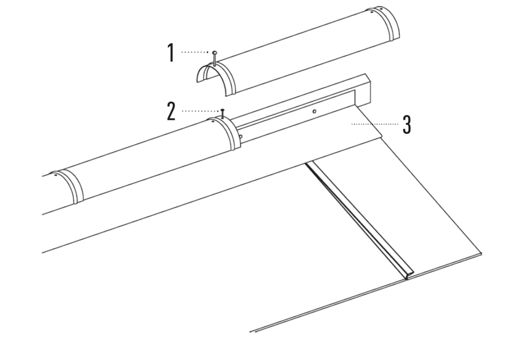
Začetni trak za strešno ploščo

Montaža začetnega traku

Previs napušča začetnega traku se mora nahajati v zadnji tretjini širine žleba in ne sme presegati 80 mm.
Od zgornjega roba prve strešne plošče izmerite 450 mm v smeri napušča (pazite na to, da se previs napušča nahaja med 30 in 80 mm). Za 150 mm (širina začetnega traku) od spodaj naredite oznako (= zgornji rob širine začetnega traku).

Postopek ponovite na drugi strani napušča in te oznake povežite z vodoravnim označevanjem z barvno vrvico.

Začetni trak je treba pribiti tako, da je zaščiten pred nevihtami (žeblje pribijte v vse predhodno izrezane luknje). Začetni trak v celoti pritrdite, preden v vse predhodno izrezane luknje pribijete priložene žeblje PREFA.

Napotek

Bolj natančno izvedete montažo začetnega traku, lažje vam bo pri strokovni montaži strešnega sistema PREFA.
Pazite, da začetni trak položite pod ločilno plastjo.

Začetni trak

Montaža začetnega traku

Previs napušča začetnega traku se mora nahajati v zadnji tretjini širine žleba in ne sme presegati 80 mm.
Pritrditev začetnega traku se po celotni dolžini napušča izvede ravno, in sicer s pomočjo predhodno izvedenega označevanja z vrvico.
Začetni trak je treba pribiti tako, da je zaščiten pred nevihtami (žeblje pribijte v vse predhodno izrezane luknje).
Potem sledi navpična oznaka kota.
Začetni trak v celoti pritrdite, preden v vse predhodno izrezane luknje pribijete priložene žeblje PREFA.

Napotek

Bolj natančno izvedete montažo začetnega traku, lažje vam bo pri strokovni montaži strešnega sistema PREFA. Kot pomoč so predvidene oznake (vrvne mere) za posamezne strešne kritine PREFA.

Pazite, da začetni trak položite pod ločilno plastjo (glejte sliko zgoraj).

Posebnost pri strešni plošči R.16 in strešnem panelu FX.12

Začetni trak z vtisnjenimi oznakami za strešno ploščo R.16 oz. strešni panel FX.12 usmerite proti sredini strehe.
Tukaj je treba upoštevati, da se območje za stranski zaključek (npr. izdelava čelnega napušča) ne nahaja na območju zgiba strešne plošče R.16 oz. strešnega panela FX.12. Po potrebi začetni trak zamaknite za eno četrtino dimenzije strešne plošče R.16 oz. strešnega panela FX.12.

Posebnost pri strešnem rombu 29 x 29 in strešnem rombu 44 x 44

Začetni trak z vtisnjenimi oznakami usmerite proti sredini strehe.
Tukaj je treba upoštevati, da se območje za stranski zaključek (npr. izdelava čelnega napušča) ne nahaja na sredini strešnih rombov 29 × 29 oz. 44 × 44.
Po potrebi začetni trak zamaknite za eno četrtino dimenzije (1/4 navpične mere vezanja) strešnega romba 29 × 29 oz. 44 × 44.

Izdelava čelnega napušča in stranski priključek

  • Strešno kritino PREFA upognite za 30 mm pod pravim kotom glede na površino strehe (slika 1).
  • Zgornji rob originalnega zadrževalnega traku čelnega napušča pribijte na zgornji rob čelne deske in zadrževalni trak čelnega napušča pribijte tako, da bo varen pred nevihtami (slika 2).
  • Na območjih z veliko snega je treba izdelavo čelnega napušča izvesti v skladu s sliko 3.
  • Pri izdelavi čelnega napušča z visoko čelno desko je treba uporabiti različico, prikazano na sliki 4.

Posebnost pri strešni plošči R.16 in strešnem panelu FX.12

V območju stoječega vzgiba izrežite zgornji patentni zgib, tako da ostane zgib kavlja (sliki 1 in 2), in strešno ploščo R.16 ali strešni panel FX.12 upognite za 30 mm pod pravim kotom glede na površino strehe.

Posebnost pri strešni skodli

Pri vsakem levem zaključku strešne skodle (trak za čelni napušč in okvir) je treba izrezati zgibe, ki potekajo prečno navzdol, da se prepreči kapilarno delovanje.

  • Zarišite območje zaključka in 30-mm dodatek zgiba (slika 1).
  • Strešno skodlo razrežite z dodatkom zgiba (slika 2).
  • Ustvarite zareze zgiba (slika 3 in 4).
  • Namestite strešno skodlo in jo usmerite navzgor (slika 5 in 6).

Različica s skrajšano skodlo ali skodlo za zaključek

Ena možnost je, da prečne zgibe s skrajšano ali skodlo za zaključke namestite izven območja zaključka.

Različica 1: Skrajšana skodla
Zadnjo strešno skodlo pred usmeritvijo navzgor skrajšate in namestite (slika 7 in 8).

Različica 2: Skodla za zaključke
Namestite skodlo za zaključek, razrežite z dodatkom zgiba 30 mm in usmerite navzgor (slika 8 in 9).

Ob pravilni izvedbi se zagotovi vodotesnost strehe.
Po pripravi strešne skodle je mogoče izdelati zaključno pločevino (npr. obloga zatrepa ali žlota s pokončnim robom) in namestiti kritino.

Posebnost pri strešni skodli DS.19

Pri vsakem levem zaključku strešne skodle DS.19 (trak za čelni napušč in okvir) je treba izrezati zgibe, ki potekajo prečno navzdol, da se prepreči kapilarno delovanje.

  • Zarišite območje zaključka in 30-mm dodatek zgiba ter zarežite na dodatku zgiba (slika 1).
  • Ustvarite zareze zgiba (slika 2 in 3).
  • Namestite strešno skodlo DS.19 in jo usmerite navzgor (slika 4 in 5).

Različica s skodlo za zaključek DS.19

Ena možnost je, da prečne zgibe s skodlo za zaključek DS.19 namestite izven območja zaključka.

  • Namestite skodlo za zaključek DS.19 in prečno potekajoč zgib označite na zgornjem obodu skodle (slika 6).
  • Okrog oznake obod skodle sprostite v obliki polmeseca (slika 7).
  • Namestite in pritrdite skodlo za zaključek DS.19 (slika 8).
  • Strešno kritino usmerite navzgor. (slika 9 in 10).

Napotek

Skodla za zaključke DS.19 ni primerna za celotne strešne kritine.
POZOR: Krajšanje strešne skodle DS.19 zaradi kapilarnih točk ni mogoče.

Ob pravilni izvedbi se zagotovi vodotesnost strehe.
Po pripravi strešne skodle DS.19 je mogoče izdelati zaključno pločevino (npr. obloga ćelnega napušča ali žlota s pokončnim robom) in namestiti kritino.

Posebnost pri strešnem rombu 29 × 29

Pri vsakem stranskem zaključku strešnega romba 29 × 29 (trak za čelni napušč in okvir) je treba na spodnji strani izrezati in navzgor upogniti zgibe, ki potekajo prečno navzdol.

  • Zarisovanje območja zaključka in 30 mm dodatka zgiba
  • Strešni romb 29 × 29 razrežite na dodatku zgiba in ustvarite zarezi zgiba (slika 1).
  • Upognite in okroglo zarežite oblikovanje zgiba (slika 2).
  • Položite strešni romb 29 × 29 in ga usmerite navzgor (slika 3 in 4).

Ob pravilni izvedbi se zagotovi vodotesnost strehe.

Po pripravi strešnih rombov 29 × 29 je mogoče izdelati zaključno pločevino (npr. obloga zatrepa ali žlota s pokončnim robom) in namestiti strešno kritino.

Posebnost pri strešnem rombu 44 × 44

Pri vsakem stranskem zaključku strešnega romba 44 × 44 (trak za čelni napušč in okvir) je treba na spodnji strani izrezati in navzgor upogniti zgibe, ki potekajo prečno navzdol.

  • Zarisovanje območja zaključka in 30 mm dodatka zgiba
  • Strešni romb 44  × 44 razrežite na dodatku zgiba in ustvarite zarezi zgiba (slika 1).
  • Upognite in okroglo zarežite oblikovanje zgiba (slika 2).
  • Prečni patentni zgib je treba izrezati na zgornji strani v območju visokega roba (slika 3).
  • Položite strešni romb 44 × 44 in ga usmerite navzgor (slika 4).

Ob pravilni izvedbi se zagotovi vodotesnost strehe.
Po pripravi strešnih rombov 44 × 44 je mogoče izdelati zaključno pločevino (npr. obloga zatrepa ali žlota s pokončnim robom) in namestiti strešno kritino.

Izdelava žlote

Različica z varnostno žloto

1 Strešna plošča
2 Podložna membrana
3 Sidro

4 Pločevina za žloto
5 Deska za žloto

Pri varnostni žloti gre za priporočilo podjetja PREFA.
V osnovi se klepar na podlagi svojih izkušenj in izobrazbe odloči, ali bo uporabil varnostno žloto. Varnostna žlota v primerjavi z običajno žloto nudi povečano varnost glede nabiranja na občutljivem območju žlote.


Prednosti varnostne žlote:

  • Varnost pred nabiranjem zaradi dodatnega hrbtnega roba.
  • Predhodno izdelan izdelek PREFA
  • Dodatni robovi v območju prekrivanja
  • Kapilarne točke v območju prekrivanja
  • Boljša pohodnost, povečana stabilnost

Različica z ročno izdelano pločevino za žloto

1 Strešna plošča
2 Podložna membrana
3 Sidro

4 Pločevina za žloto
5 Deska za žloto

  • Pločevino za žlote zarobite do največje dolžine 3.000 mm.
  • Stranski vodni zgib je treba na obeh straneh upogniti v širini 40 mm.
  • Širina prireza je odvisna od oblike strehe, naklona strehe in pogojev ter ne sme biti manjša od 500 mm.
  • Pri močno različnih naklonih strehe oz. pri močno različnih padavinah je treba žloto načrtovati poglobljeno ali s stoječim zgibom na sredini pločevine za žloto.

Priključek žlote

  • Pri priključku žlote je treba strešno kritino PREFA, ki bo nameščena, zarisati in obrezati s pribl. 35 mm (slika 1 in 2).
  • Zarisan zgib za vpenjanje zavihajte (slika 3).
  • Obesite in položite pripravljeno strešno kritino PREFA (slika 4).

Posebnosti pri strešni plošči

Smer pokrivanja je treba vedno izbrati v smeri do žlote. Na ta način se v primeru zdrsa snega in ledu v tem območju prepreči upogibanje prekrivnega utora navzgor.

  • Namestite ploščo in odprite notranji rob za obrobo žlote, obrežite ploščo z dodatkom pribl. 35 mm (slika 1).
  • Utor v območju upogibnega roba udarite navzven in ploščo upognite za 180° v smeri hrbtne strani plošče. Potem vstavite ploščo in jo pritrdite s pritrditvami (slika 2 in 3).
  • Ker je bil pri upogibnem robu potek plošče raztegnjen, je mogoče utor v pokritem stanju s prirezanim ročajem kladiva najlažje znova prestaviti v izvorno obliko. S tem se prepreči zamikanje plošče (slika 4).

Posebnosti pri strešni skodli in strešni skodli DS.19

Napotek

Presečišče na levi strani žlote je treba pri strešnih skodlah in strešnih skodlah DS.19 v vsakem primeru preprečiti.

Strešna skodla

Če se presečišče žlote/spoja skodle združuje na levi strani glede na žloto, je treba pri strešnih skodlah predhodno izdelati in namestiti skrajšano strešno skodlo (1) oz. skodlo za zaključek (1).

Strešna skodla DS.19

Če se presečišče žlote/spoja skodle združuje na levi strani glede na žloto, je treba pri strešnih skodlah DS.19 predhodno namestiti skodlo za zaključek DS.19 (1).
Krajšanje strešne skodle DS.19 zaradi kapilarnih točk ni mogoče.

Posebnost pri strešni plošči R.16 in strešnem panelu FX.12

  • Če prihaja do združevanja presečišča žlote/spoja plošče, je treba predhodno izdelati in namestiti prilagoditveni element (slika 1).
    Napotek: Pri ročno izdelanih pločevinah za žloto je v vsakem primeru treba preprečiti presečišče.
  • Za preprečitev presečišča iz celotne strešne plošče  R.16 ali strešnega panela FX.12 izdelajte prilagoditveni element (slika 2 in 3).
    POZOR: Velikost prilagoditvenega elementa izberite tako, da ne pride do oviranja montaže snegolovov. Točna izvedba bo jasno vidna na točkovnih snegolovih.

Napotek

V primeru uporabe varnostne žlote je mogoče priključek žlote izvesti tako, da pride do združevanja presečišča žlote/spoja plošče.

Izdelava grebena in slemena

Glede na sestavo strehe in funkcionalnost so na voljo različne možnosti.

Jet zračnik

Jet zračnik je mogoče uporabiti pri naklonih strehe 12–55°.
Originalni Jet zračnik ima na obeh straneh sprednjo pločevino. Vseeno strešno kritino pomaknite za 40 mm navzgor, da dosežete priključek, varen pred dežjem.
Zadnjo (po potrebi prirezano) vrsto plošč s povratno pritrditvijo prek neposredne pritrditve stransko pritrdite na dvignjen del vala spodnjega vala (pri strešnih ploščah PREFA) ali z neposredno pritrditvijo nad penasti klin Jet zračnika.

Montaža

  • Usmeritev zadnje vrste mora biti izvedena tako, da nastane zračna reža velikosti 80 mm. Strešne elemente PREFA namestite pribl. 40 mm navpično (slika 1).
  • Upoštevajte razširitvene fuge velikosti pribl. 5 mm med posameznimi Jet zračniki in potem snemite pribl. 50 mm lepljive zaščitne folije s tesnilnega klina in ga upognite navzven (slika 2).
  • Obe povezovalni objemki namestite sredinsko in ju s po eno zakovico PREFA premera 4,1 mm pritrdite kot fiksno točko (slika 3).
  • Tesnilni klin z že sneto tesnilno površino nalepite pod povezovalne objemke. Potem snemite lepljivo zaščitno folijo (slika 4).
  • Zračnike slemena s tesnilnimi vijaki PREFA (dolžina 60 mm) pritrdite v razmiku pribl. 600 mm (slika 5).
    Opomba:
    – Pri strešnih ploščah tesnilne vijake vedno namestite na valj strešne plošče.
    – Pri strešnih skodlah in rombih pritrditve ne nameščajte na prečne zgibe.
    – Pri FX.12 in R.16 pritrditve ne nameščajte na kotni stoječi zgib.
  • Predlog glede montaže zaključka Jet zračnika (slika 6).
    Nasvet: Najprej na robno območje namestite pokrivno pločevino in pripravite 30 mm za trak za zatrep, potem namestite trak za zatrep.
  • Prilagodite zaključek Jet zračnika in ga pritrdite z zakovico (slika 7).
  • Primer: Zareza grebena/slemena (slika 8).

Napotek

Pazite, da se penasti klin prilega po celotni dolžini strešne kritine.

Napotek

V primeru razporeditve odprtin za odvod zraka na slemenski strani v strešnih konstrukcijah z enojnim opažem ni mogoče popolnoma izključiti prodiranja prašnega snega.

Zaključek prezračevalnega slemena v žloti

Pri priključitvi Jet zračnika na žloto je treba Jet zračnik zatesniti z zaključkom in ga je treba izvesti tako, da v zračnik ne morejo vdreti padavine z glavne površine strehe.

Izdelava grebena in slemena z grebenskim in slemenskim trakom.

Za zaščito strehe pred prašnim snegom morate strešno kritino v območju grebena in slemena obvezno zavihati najm. 40 mm navzgor.
Če je zadnja vrsta plošč prekratka, lahko to dopolnite s PREFA dopolnilno pločevino

Nasvet: Z barvno vrvico označite sredino letve slemena, da zagotovite natančen potek.

Napotek

Prvi grebenski slemenjak zarežite natančno v obliki utorov oz. zgibov.

1 Tesnilni vijak

2 Žebelj

1 Tesnilni vijak
2 Žebelj

3 Dopolnilna pločevina

Primer izdelave grebena/slemena

  • Prirežite oba grebenska slemenjaka, ki potekata čez greben, tako da se na strani zatrepa prekrivata pribl. 10 mm, potem privijačite na strešne letve. (slika 1).
  • Potem polovični grebenski slemenjak zarežite tako, da prekriva prvi rez obeh spodnjih grebenskih slemenjakov. Za olajšanje prilagoditve zgornjega grebenskega slemenjaka zunanje območje reza povlecite, kot je prikazano na fotografiji (slika 2).
  • Ko na ta način izdelane grebenske slemenjake pritrdite na letev slemena, lahko nadaljujete z običajnimi slemenjaki (slika 3).

Posebnost pri strešni plošči

Če boste pri strešni plošči namestili neprekinjeno dopolnilno pločevino, je treba valj plošče usmeriti tako, da je mogoče namestiti ravno dopolnilno pločevino.

  • Zarežite valj na najvišji točki in zgib dvignite z opažnim železom (slika 1 in 2).
  • S kladivom utor potolcite, da bo izravnan, tako da nastane enakomerno odprt zgib. Zarezanje pri spoju plošče ni potrebno (slika 3).
  • Zdaj je mogoče brez težav namestiti dopolnilno pločevino (slika 4).

Posebnost pri strešnem rombu 29 × 29 in 44 × 44

Če je pri strešnih rombih 29 × 29 ali 44 × 44 nameščena neprekinjena dopolnilna pločevina, potem je treba uporabiti končne plošče za strešne rombe 29 × 29 oz. 44 × 44. To omogoča vodoravni zgib za vpenjanje.

Med končne plošče za strešni romb  29 × 29 je treba namestiti priloženi prekrivni trak (1).

Enostavno oblikovanje slemena z zgibom za vpenjanje.

Po prirezovanju strešne kritine PREFA ustvarite zgib za vpenjanje.

Posebnosti pri strešnih ploščah

Po prirezovanju strešne plošče je potrebno pripraviti dodaten zgib na sredini valov, da se ustvari zgib za vpenjanje. To lahko opravite s kleščami za zgibe ali kleščami za zareze.

Oblikovanje slemena z enostavno pokrivno kapo.

Enostavno pokrivno kapo slemena je mogoče uporabiti, če je razdalja med strešno kritino PREFA in najvišjo točko slemena manjša od 150 mm in prezračevanje ni potrebno.

Izdelava strešnega zamika

Strešna plošča

Izdelava se izvede z dvema začetnima trakovoma.

1. Začetni trak za strešno ploščo

2. začetni trak žlebasti

  • Prvi začetni trak (1.806 × 150 mm) pribijte kot običajno.
  • Drugi začetni trak (začetni trak žlebast) pribijte prek prve vrste plošč v višini zgiba glavne površine strehe. Odvisno od gradbišča namestite tesnilni trak, da ustvarite režo zgiba za vpenjanje na nasproti ležeči strešni plošči (slika 1).
  • Naslednjo vrsto strešnih plošč je mogoče potem položiti prek celotne širine (slika 2).

Strešna plošča R.16 in strešni panel FX.12

  • Označite 30-mm previs in obrežite strešno ploščo R.16/strešni panel FX.12 (slika 1).
  • Zgornji zgib zarežite za pribl. 200 mm in ustvarite zarezo (slika 2).
  • Zgornji zgib za vpenjanje neprekinjeno postavite navzgor (slika 3).
  • Zarobite dodatnih 30 mm in zgibajte veterno letev (slika 4).
  • Na strešnem zamiku zarišite in prirežite strešno ploščo R.16/strešni panel FX.12 za skrajšanje (slika 5).
  • Položite prirezano strešno ploščo R.16/strešni panel FX.12 (slika 6).
  • Obe strešni plošči R.16/oba strešna panela FX.12 se združita v zgibih in v območju za vpenjanje nastane zgib (slika 7).
  • Območje za vpenjanje upognite nazaj in pritrdite s patentnim sidrom (slika 8).
  • Naslednjo vrsto strešnih plošč R.16/strešnih panelov FX.12 je mogoče potem položiti prek celotne širine (slika 9).

Strešna skodla in strešna skodla DS.19

  • Če strešni zamik zahteva prvo vrsto s skrajšanimi skodlami, je treba v ta namen strešne skodle/strešne skodle DS.19 skrajšati (slika 1).
  • Naslednjo vrsto skodel je mogoče potem prekriti prek celotne širine (slika 2).
  • Dokončno pokrit strešni zamik (slika 3).

Strešni romb 29 x 29 in strešni romb 44 x 44

Pri strešnih zamikih s strešnim rombom 29 × 29 oziroma 44 × 44 je treba v večini primerov izdelati prilagojeno odkapno pločevino. Na ta način je mogoče brez težav začeti z začetno ploščo strešnega romba 29 × 29 ali 44 × 44 (slika 1A in 1B).

Različica A: Vodoravno potekajoč zgib

Naslednjo vrsto strešnih rombov je mogoče potem položiti prek celotne širine (slika 2A in 2B).

Različica B: Navpično potekajoč zgib

Dokončno položen strešni zamik (slika 3A in 3B).

Priključitev na ležeči žleb (strešni žleb)

Začetni trak 1.806 × 150 mm upognite v skladu z naslednjo sliko (2 loka).